
In 1965 American Sherman Poppen fastened two skis together and called it “snurfing”. But why has nobody heard of snurfing? Probably because most people now know it as snowboarding. Why did it take so long for snurfing to develop into one of the most popular snow sports of the 21st century?
There is still some debate over the inventor of the snowboard, however it is known that Poppen was the first to patent a design that reflects a modern day snowboard. A patent was filed under the name surf-type snow ski. Poppen’s design was inspired by the desire to entertain his daughter. Upon successfully achieving this, the snurfer was marketed as a kid’s toy and over 800,000 of them were sold from 1965-1969. The snurfer had a tether attached to the front of the board to provide more control to the user and did not function with bindings or purpose made footwear.

For the next 20 years no design improvements or new technologies were introduced and it wasn’t until the 1990s that things really took off, with a huge number of patents on snowboard bindings (Figure 3). What happened around this time to fuel an increase in snowboarding?


In a 1979 snurfer competition, an entrant arrived with a modified snurfer. The modifications were deemed illegal and the participant was placed in a new category. The competitor was Jake Burton Carpenter who would later go on to found the company Burton Snowboards. The addition of bindings to the snurfer made the equipment more enjoyable and easier to use whilst also allowing the user more functionality. At the same time marketing of the snurfer shifted from a children’s toy to sports equipment, professional associations were formed and ski resorts began to accept them on chair lifts.
So what will be the next big thing in snow sports?
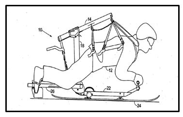
When surfing and skiing was first combined I’m sure people thought it was a crazy idea — and here’s another one… THE HANG BOARD. Patented in 2006 it appears to be a combination of a snowboard and a hanglider. It is easy to dismiss the idea now, but just like the snurfer it may only take some time and a few little design changes. If ski resorts were reluctant to let snowboards on chairlifts, I can’t wait till they see this!
But what do I know, we could all be hang boarding in 2030.

Further Reading and Videos
- Inventor Sherman Poppen, snurfing his way into history
- You should thank the man that built this board. His Name is Sherman Poppen- Interview
About the Author

Brendan Lawrance is a current student at Sheffield Hallam University where he is studying a MSc Sports Engineering. He previously graduated with a Bachelor of Engineering (Mechanical) from the University of Sydney, Australia. His previous study and career has focused on mechanical design with his passion in sport leading him to seek a career in sports innovation. His sporting interests include snowboarding, football, mountain biking, cricket and running. His sporting ability has been described as ‘a jack of all trades, a master of none’, but this doesn’t stop him from having a go.
Email: brendanlawrance@ymail.com
Nice blog! What about the snowbike?
LikeLike